100块钱上门服务电话号码,品茶qq群免费进群,全国高端经纪人联系方式,附近休闲一条龙全套

销售热线:021-66105556
您现在的位置:网站首页 -> 减压阀 -> YZ11X支管减压阀

YZ11X 支管减压阀

支管减压阀
所属系列:减压阀系列
检索关键字:支管减压阀,YZ11X.YZ11X减压阀,减压阀
销售电话:021-66105556
图文传真:021-63061811
在线客服:点击这里给我发消息 点击这里给我发消息

感谢您向我们发出订单我们会在最短时间与您联系

产品介绍

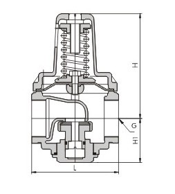
一、YZ11X支管减压阀--用途及结构特点


YZ11X支管减压阀是直接作用式薄膜弹簧减压阀,是在吸取了国外同类产品优点的基础上设计制造的。主要由膜片、磴形阀瓣、调节弹簧等零件组成。利用膜片传感下游压力变化驱动阀瓣,改变和控制阀门开度实现减压稳压功能。由调定调节弹簧压力设定出口压力值。支管减压阀适当加大了膜片面积,提高了灵敏度。减压稳压平稳、灵敏。支管减压阀适用于高层建筑公寓楼和住宅区的支线管路以及公寓、住宅的入户支管使用。



二、YZ11X
支管减压阀--主要技术参数和性能指标

 

公称压力(Mpa) 1.0 1.6
壳体试验压力(Mpa)* 1.5 2.4
密封试验压力(Mpa) 1.0 1.6
最高进口压力(Mpa) 1.0 1.6
出口压力范围(Mpa) 0.05-0.55 0.05-0.8
压力特性偏差(Mpa)△P2P GB12244-1989
流量特性偏差(Mpa)△P2G GB12244-1989
渗漏量 0
工作温度 0℃-80℃

 

三、YZ11X支管减压阀--主要零件材料

 

零件名称 零件材料
阀体 铜合金
阀盖 铜合金
阀瓣 铜合金
O型圈 丁腈橡胶
密封圈 丁腈橡胶
膜片
夹织物丁腈橡胶
调节弹簧 60Si2Mn
调节螺栓 2Cr13

 

四、YZ11X支管减压阀--流量系数(Cv)

 

DN 15(1/2") 20(3/4") 25(1") 32(1-1/4") 40(1-1/2") 50(2")
Cv 1 2 3 5 8 14

 

五、YZ11X支管减压阀--连接尺寸

 

DN G L H H
P2*≤0.55MPa P2*≤0.8MPa
15(1/2") G1/2" 65 75 90 35
20(3/4") G3-4" 75 85 100 35
25(1") G1" 90 3 115 46
32(1-1/4") G1-1/4" 105 130 150 55
40(1-1/2") G1-1/2" 120 155 175 65
50(2") G2" 140 175 195 75

 

 


上兆阀门其他产品:


闸 阀  截止阀  球 阀  蝶 阀  紧急切断阀   电磁阀   水力控制阀   止回阀   刀型闸阀    旋塞阀  过滤器   减压阀  疏水阀  隔膜阀  调节阀  阻火器  呼吸阀  燃气阀门  冶金阀门




相关产品