

|
|||||||||||||||||||||||||||||||||||||||||||||||||||||||||||||||||||||||||||||||||||||||||||||||||||||||||||||||||||||||||||||||||||||||||||||||||||||||||||||||||||||||||||||||||||||||||||||||||||||||||||||||||||||||||||||||||||||
|
产品介绍 一、蒸汽(液用)电磁阀--用途
ZQDF(Y)蒸汽(液用)电磁阀是工业过程自动化控制系统用的执行器,它在接受电控信号后能自动开启或关闭阀门,实现对管道中流体介质的通断或流量调节控制,从而对系统中的温度、流量、压力等参数进行自动调节或远程控制。
本系列电磁阀产品可广泛应用于纺织、印染、化工、塑料、橡胶、制药、食品、建材、机械、电器、表面处理等生产和科研部门以及浴室、食堂、空调等人们日常生活设施中。ZQDF系列主要用于空气、蒸汽、煤气等气体介质的控制;ZQDF(Y)系列主要用于自来水、蒸馏水、冷冻盐水、电镀废液等液体介质,同时也用于粘度小于4°E的油类。
二、蒸汽(液用)电磁阀--型号说明
三、蒸汽(液用)电磁阀--特点
耐腐:主要部件阀塞,阀体等采用不锈钢和铸钢制成,防腐性能良好。 耐热:电磁、密封部分全部采用特种耐高温电工材料和密封材料,并采用了有效的隔热措施。 耐磨:选材合理,阀塞与阀体间巧妙地利用流体的润滑作用,减少磨损。 耐冷凝:蒸汽管道的冷北水是影响蒸汽电磁阀动作的重要因素,本阀则不受冷凝水影响。
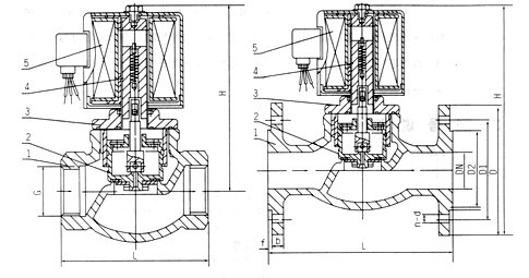
四、蒸汽(液用)电磁阀--结构与原理
本阀为分步动作直接先导式电磁阀,可根据断电时所处开、关状态的不同,可分为常闭式电磁阀和??降绱欧А31盏绱欧?,线圈通电后,衔铁在电磁力作用下先带动副阀阀塞提起,主阀阀杯上的流体经副阀流走,减少了作用在主阀阀杯上的压力,当主阀阀杯上的压力减少到一定值时,衔铁带动主阀阀杯,并利用压差而使主阀阀杯开启,介质流通。线圈断电后,电磁力消失,衔铁因自重下落复位。同时依靠介质压力,主副阀得以紧密关闭。??绱欧?,线圈通电后由于吸力作用,动铁芯下移,把副阀阀塞压下,副阀关闭,主阀阀杯内压力上升,当压力升到一定值时,主阀阀杯的上下压差一样,由于电磁力作用,动铁芯失去主阀阀杯下,压紧主阀阀座,阀门关闭。线圈断电时,电磁吸力为零,副阀阀塞和支铁芯由于弹簧作用向上提起,副阀打开,主阀阀杯上的流体经副阀流走,减少了作用在主阀阀杯上的压力,当主阀阀杯上的压力减少到一定值时,利用压差把主阀阀杯推起,主阀打开,介质流通。
五、蒸汽电磁阀--主要技术参数
六、外形尺寸及连接形式表
七、蒸汽电磁阀--安装须知
1、安装时电磁阀线圈向上,并保持垂直位置,电磁阀上箭头或标记应与管道流向一致,不得安装在有溅水或漏水的地方。 2、电磁阀的工作介质应清洁无颗粒杂质,电磁阀内件表面上的污物及过滤器,需定期清洁干净。 3、在电磁阀发生故障时,为了及时隔离电磁阀,并保证系统正常运行,最好安装旁路装置(如图一)。 4、在管路系统中,安装在支路上的电磁阀通径应小于主管道阀门的通径(如图二)。 5、安装电磁阀前,管道必须清洗干净。建议在阀前安装过滤器,蒸汽管道安装疏水阀。 6、不能将阀安装在管道的低凹处,以免因蒸汽冷凝水、杂质等沉淀在阀内而防碍动作。 7、普通型不能在爆炸危险场合使用。 8、在管路刚性不足情况下,建议把阀前管道用支架固定,以免电磁阀工作时引起振动。 9、在安装前,要注意看清产品标牌,认真阅读使用说明书,判断产品是否符合使用条件。 10、电磁阀前后管道上需安装压力表,以便观察管道压力。
八、使用保养
1、建议使用单位派专人负责使用保养。 2、电磁阀安装后需通入介质实验动作数次,确认正常后方可投入正式使用。 3、应定期清洗大阀内外及衔吸合面的污物,注意不要损坏密封面。 4、电磁阀较长时间不用时,应关闭阀前手动阀,重新启用时,蒸汽电磁阀应将冷凝水排除干净,并作试动作数次,待开关正常后方可投入使用。 5、电磁阀从管路上卸下不用时,应将内部零件拭净并用压缩空气吹净储存。 6、使用时间较长时,如活塞与阀座间密封不好,可将活塞密封面重新磨平,再和阀座研磨。 7、工作时,要注意阀门前后压力表,要求工作压力不得超过额定压力,工作压差必须在额定压差范围内。当工作压力超过额定压力或工作压差超过额定压差时,电磁阀要停止使用,关闭前后手动阀,以免电磁阀爆炸和泄漏。
九、订货须知
1、订货时请注明型号、公称通径、公称压力、工作介质、工作压差、介质温度、电源电压及频率、介质粘度。
3、阀门的开通时间达12小时以上,请选用常开式电磁阀。当使用环境周围有易燃易爆品,请选用防爆型电磁阀。(防爆型结构如下图三)
2、电磁阀正常工作时的电压为220+22V/220-15V,如超过此范围,请订货时注明电压波动量。其它规格电源电压可做特殊订货。 上兆阀门其他产品: 闸 阀 截止阀 球 阀 蝶 阀 紧急切断阀 电磁阀 水力控制阀 止回阀 刀型闸阀 旋塞阀 过滤器 减压阀 疏水阀 隔膜阀 调节阀 阻火器 呼吸阀 燃气阀门 冶金阀门 | |||||||||||||||||||||||||||||||||||||||||||||||||||||||||||||||||||||||||||||||||||||||||||||||||||||||||||||||||||||||||||||||||||||||||||||||||||||||||||||||||||||||||||||||||||||||||||||||||||||||||||||||||||||||||||||||||||||
相关产品 |
|||||||||||||||||||||||||||||||||||||||||||||||||||||||||||||||||||||||||||||||||||||||||||||||||||||||||||||||||||||||||||||||||||||||||||||||||||||||||||||||||||||||||||||||||||||||||||||||||||||||||||||||||||||||||||||||||||||