一、Q11F二片式球阀--特征
产品名称:Q11F 二片式球阀
公称压力:1.6-6.4MPa
适用温度范围:-20~232℃~350℃
适用介质:水、油、气及某些腐蚀性液体(W.O.G)
螺纹类型:G·NPT.BSPT.DIN259/2999
二、Q11F二片式球阀--适用范围
Q11F二片式球阀适用于城建、化工、冶金、石油、制药、食品、饮料、环保
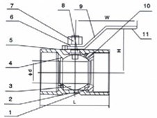
三、Q11F二片式球阀--主要连接尺寸及重量
| | SIZE | D | L | H | W | WEIGHT(KG) |
1000PSI | 1/4″ | 11.6 | 57 | 49 | 120 | 0.340 |
3/8″ | 12.7 | 57 | 49 | 120 | 0.320 |
1/2″ | 15 | 63.5 | 51 | 120 | 0.370 |
3/4″ | 20 | 75 | 58 | 130 | 0.645 |
1″ | 25 | 89 | 70 | 154 | 1.025 |
1-1/4″ | 32 | 99 | 80 | 154 | 1.560 |
1-1/2″ | 38 | 118 | 88 | 185 | 2.215 |
2″ | 50.8 | 136 | 97 | 185 | 3.760 |
2-1/2″ | 65 | 162 | 150 | 250 | 5.800 |
3″ | 80 | 190 | 160 | 250 | 11.920 |
2000PSI | 1/4″ | 9.5 | 57 | 50 | 120 | 0.44 |
3/8″ | 9.5 | 57 | 50 | 120 | 0.42 |
1/2″ | 12.7 | 63.5 | 52 | 120 | 0.48 |
3/4″ | 17.4 | 76 | 60 | 130 | 0.84 |
1500PSI | 1″ | 22.2 | 89 | 73 | 154 | 1.33 |
1-1/4″ | 27 | 103 | 83 | 154 | 2.03 |
1-1/2″ | 31.8 | 118 | 90 | 185 | 2.88 |
2″ | 3801 | 142 | 100 | 185 | 4.89 |
四、Q11F二片式球阀--主要零件材料
| ITEM | PAPTS | 部件 | MATERIAL材质 |
| 1 | BODY | 阀体 | CF8/CF8M |
| 2 | BALL | 球 | CF8M |
| 3 | SEAT | 阀座 | RPTFE |
| 4 | CAP | 阀盖 | CF8/CF8M |
| 5 | STEN | 阀杆 | 304 |
| 6 | STEM PACDING | 填料 | PTFE |
| 7 | GLAND NUT | 压紧螺母 | 304 |
| 8 | HANDLE | 手柄 | 304 |
| 9 | GLAND RING | 弹簧垫圈 | 304 |
| 10 | NUT | 螺母 | 304 |
| 11 | PLASTIC COVER | 手柄套 | ALUMNUM ALLOY |
| 12 | LOCKING | 锁片 | 304 |