

|
||||||||||||||||||||||||||||||||||||||||||||||||||||||||||||||||||||||||||||||||||||||||||||||||||||||||||||||||||||||||||||||
|
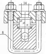
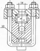
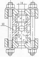
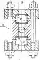
产品介绍 SZ-UB系列玻璃板液位计可用来直接指示密封容器中的液位高度,具有结构简单,直观可靠,经久耐用等优点,但容器中的介质必须是与钢、钢纸及石墨压环不起腐蚀作用的。适用于化工、石油等工业低温设备的液位指示装置。 一、SZ-UB玻璃板液位计--产品结构: 仪表的上下阀上装有法兰接头,与容器连接构联通器,透过玻璃板直接指示容器布什的液位,“夹套型”设有加热或冷却装置。该装置加热时可用蒸气,冷却时可用循环水,这样可以调节流动性能,夹套型接管尺寸ZG1/4内螺纹。在上下阀内装有钢球,当玻璃板因意外事故破坏时,钢球在容器压力作用下,自动密封,防止容器内的液体继续外流。在仪表的上端针形阀装有阻塞螺钉,可供放气之用,下端针形阀也装有阻塞螺钉。可供放空、取样、排污、清洗。 二、SZ-UB玻璃板液位计--技术数据: 1、针形阀的自动关闭压力 ≥0.2MPa 2、夹套蒸气压力为 ≤0.6MPa 3、玻璃板的急变温差为 ≤240℃ 注:我厂承接特殊规格的定货。 三、SZ-UB玻璃板液位计--产品类型:
安装、使用与维护 1、为了保证自动密超过计划作用,容器内的介质压力不得小于0.2MPa,在打开上下阀时,阀杆退出转数不少于4转(使钢球封门时,不致于碰到阀杆的顶端)。 2、使用中的仪表应定期检查。清洗玻璃板内外壁污垢,使液位显示清晰。 3、检修装配玻璃板在旋紧螺栓时,要密切注意玻璃板受力不均而破碎。因此,螺栓须严格按图示1、2、3┈┈┈10、11、12顺序交叉地分多次夹紧玻璃板。 | ||||||||||||||||||||||||||||||||||||||||||||||||||||||||||||||||||||||||||||||||||||||||||||||||||||||||||||||||||||||||||||||
相关产品 |
||||||||||||||||||||||||||||||||||||||||||||||||||||||||||||||||||||||||||||||||||||||||||||||||||||||||||||||||||||||||||||||