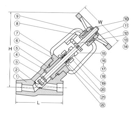
J15Y/J65Y 内螺纹Y型锻钢截止阀有三种阀盖设计形式。第一种是螺栓式阀盖,按这种设计形式设计的阀门,其阀体与阀盖用螺栓螺母连接,缠绕式垫片(316夹柔性石墨制造)密封??突в刑厥庖笫币部刹捎媒鹗艋妨印5诙稚杓菩问绞呛附邮椒Ц?,按这种形式设计的阀门,其阀体与阀盖用螺纹连接,全焊密封。客户有特殊要求时也可采用全焊二连接。第三种为压力自紧式阀盖,按这种形式设计的阀门,其阀体与阀盖用螺纹连接,内压自密封环密封。
1、符合ANSIB16.34。检验与测试按API598,标记按MSS-SP-25
2、采用以下结构
3、全径或缩径
4、升降式和球式止回阀
5、按需内置弹簧
6、可拆卸实心阀瓣
7、自定心压板压套式
8、整体式上密封座
9、明杆支架型(OS&Y)
10、螺栓连接、缠绕垫片密封式阀盖,螺纹连接、全焊密封式阀盖以及螺纹连接内压自紧式阀盖
11、承插端符合ASMEB16.11
12、螺纹连接端(NPT)符合ANSI/ASMEB1.20.1
13、阀瓣可变换为针型、节流型、球型、止回型
| 序号 | 零件名称 | CStoASTM | AStoASTM | SStoASTM |
| TypeA105 | TypeA182F22 | TypeA182F304(L) | TypeA182F316(L) |
| 1 | 阀体 | A105N | A182F22 | A182F304(L) | A182F316(L) |
| 2 | 阀瓣 | A105N | A276304 | A276304(L) | A276316(L) |
| 3 | 阀杆 | A182F6a | A182F304(L) | A182F316(L) |
| 4 | 密封座 | A105N | A182F304 | A182F304(L) | A182F316(L) |
| 5 | 密封环 | F182F304L | A182F304(L) | A182F316(L) |
| 6 | 阀盖 | A105N | A182F22 | A182F304(L) | A182F316(L) |
| 7 | 垫圈 | A105N | A182F22 | A182F304(L) | A182F316(L) |
| 8 | 阀杆螺母 | A276F420 |
| 9 | 轴承压盖 | A1942H | A1944 | A1948 | A1948M |
| 10 | 锁紧螺母 | A1942H | A1944 | A1948 | A1948M |
| 11 | 手轮 | A197 |
| 12 | 对夹块 | A105 | A182F22 | A182F304(L) | A182F316(L) |
| 13 | 螺栓 | A193B7 | A193B16 | A193B8 | A1983B8M |
| 14 | 螺母 | A1942H | A1944 | A1948 | A1948M |
| 15 | 填料压板 | A216WCB | A351CF8 |
| 16 | 活节螺栓 | A193B7 | A193B16 | A193B8 | A1983B8M |
| 17 | 螺母 | A1942H | A1944 | A1948 | A1948M |
| 18 | 圆柱销 | A276420 | A182F304 |
| 19 | 填料压套 | A276410 | | A182F304 | |
| 20 | 吊耳 | A105 | A182F22 | A182F304(L) | A182F316(L) |
| 21 | 提升螺母 | A1942H | A1944 | A1948 | A1948M |
| 22 | 填料 | 不锈钢丝+柔性石墨 |
| 适用介质 | 水、蒸汽、油品等 | 水、蒸气、油品等 | 硝酸、醋酸等 |
| 适用温度 | -29°C~425°C | -29°C~550°C | -29°C~200°C |
注意:客户需求的其他材质也可采用。密封面材料配对由客户指定内件代号决定。CS=碳钢;AS=合金钢;SS=不锈钢;
四、内螺纹Y型锻钢截止阀--尺寸参数表
| NPS | 1/2″ | 3/4″ | 1″ | 11/4″ | 11/2″ | 2″ |
| L | 900-150Lb | 140 | 140 | 140 | 178 | 178 | 216 |
| 2500Lb | 186 | 186 | 186 | 232 | 232 | 279 |
| H(开) | 333 | 333 | 332 | 408 | 406 | 524 |
| W | 125 | 125 | 160 | 160 | 180 | 200 |
| 重量 | 900Lb-1500Lb | 11.2 | 10.5 | 10.1 | 21.0 | 19.6 | 40.4 |
| 2500Lb | 12.3 | 11.6 | 10.8 | 28.0 | 26.4 | 43.8 |
.jpg)
上兆阀门其他产品:
闸 阀 截止阀 球 阀 蝶 阀 紧急切断阀 电磁阀 水力控制阀 止回阀 刀型闸阀 旋塞阀 过滤器 减压阀 疏水阀 隔膜阀 调节阀 阻火器 呼吸阀 燃气阀门 冶金阀门